Чтение онлайн

на главную - закладки

Жанры

Встроенная мебель
Шрифт:

– применить для изготовления полок материалы с более высоким модулем упругости.

Крепления и петли

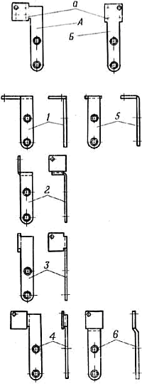
В разборных изделиях мебели особое значение имеют съемные петли. Этот вид петель подразделяется на пятниковые и карточные.

На рис. ниже показана пятниковая петля с остановом (а). Петля состоит из верхней и нижней карт, применяется для навески

больших дверей шкафов. Для ее установки не требуется отборки галтели в боковых стенках и соответствующей обработки задней кромки двери.

Для более плавного открывания двери рекомендуется верхнюю и нижнюю кромки двери несколько скашивать к кромке притвора, так как в процессе эксплуатации дверь несколько опускается. Скашивание производят в пределах допускаемых отклонений от номинального размера длины двери.

На рис. позиции в, г, д, е – это петли пятниковые, применяемые для различных видов распашных или откидных дверей.

Соединения на карточных стационарных петлях применяют обычно в неразборных изделиях мебели. Двери, навешенные на съемных карточных петлях, легко снимаются и навешиваются без применения какого-либо инструмента. Карточные съемные петли по своей конструкции подразделяются на прямые и угловые и применяются в зависимости от назначения.

На рис. ниже показаны различные конструкции карточных прямых и угловых съемных петель для трельяжных створок и дверей шкафов, тумб, изделий кухонной мебели.

На следующем рис. изображены партные и ломберные односерьговые петли двух размеров: большие и малые, а также двухсерьговые. Эти петли применяют в основном для вкладышей обеденных раздвижных столов с вкладными крышками, а также для обеденных столов с раскладными крышками. Большие двух-серьговые и односерьговые петли применяются для откидных клапанов школьных парт.

Петли торцовые применяют для тех же изделий, кроме парт.

Преимущество торцовых петель по сравнению с партными состоит в том, что они устанавливаются на кромке сопрягаемых элементов и поэтому малозаметны на поверхности изделия.

Сувальдные петли применяют для соединения двух половинок вкладышей обеденных раздвижных столов. Первая петля заметна на поверхности полукрышек, вторая малозаметна, так как ее карты привернуты к кромкам сопрягаемых элементов. Для их установки требуются соответствующие выборки гнезд в кромках полукрышек.

Петли неразъемные карточные имеют различное назначение, к ним относятся и рояльные. Рояльная петля можем изготовляться трех типоразмеров в зависимости от ширины карты. Петли изготовляют толщиной 0,8-1 мм. Имеющийся на карте желобок конструктивно необходим, как ребро жесткости. Эти петли применяют для распашных и откидных дверей.

Интерес представляет группа унифицированных петель (рис. ниже). Из двух штампованных заготовок А и Б при помощи проколов под ось вращения и гибок можно изготовить различные элементы петель.

Рис. Универсальные петли

Путем всевозможных сочетаний изготовленных элементов можно собирать большое число вариантов. Такие петли универсальны, так как их можно применять для различных видов распашных и откидных дверей, в том числе устанавливаемых в проем и накладных.

Шкафы-купе

В принципе ничего нового в конструктивном отношении в шкафах-купе нет. Некоторые отмечают как главную особенность шкафов-купе – раздвижные двери. Шкафы-купе можно привести как пример успешной идеи на основе давно известных технологий. Шкаф-купе не требует дополнительного места для открывания дверей, и в ряде случаев это чрезвычайно удобно. Шкаф-купе занимает всю стену – от стены до стены и от пола до потолка, и выполняет роль гардероба-кладовки в прихожей. Остается только рационально использовать это огромное хранилище. Заметим, что и фасадную часть шкафа мы можем оформить так, как нам захочется, – она может не только не уступать лицевой части традиционной мебели, но и значительно превосходить ее в эстетическом отношении. В оформлении фасадной части шкафов-купе используются современные материалы в любом сочетании.

Ценность представляет и сама идея, шкаф-купе можно поместить практически в любом месте квартиры, и везде он будет выглядеть органично и уместно. Соответственно комплектуется и внутреннее наполнение шкафа – ящики, полки, вешалки, другие емкости и приспособления, помогающие наиболее рационально хранить самые разные вещи.

Шкаф-купе может быть библиотекой, альковом, элементом детской комнаты, ванной или душевой.

Как отмечалось, раздвижные двери не требуют дополнительного пространства при открывании, а поскольку изготавливается и моделируется шкаф индивидуально, установить его можно где угодно: в коридоре, кабинете, прихожей, спальне, гостиной, в любой нише.

Основой раздвижных дверей является система скольжения, состоящая из роликов, встроенных в металлическую раму (профиль), и треков, по которым движется дверь. Есть два вида профилей: алюминиевые и стальные. Они отличаются друг от друга степенью деформации. Стальные системы слишком тонкие, поэтому они легче деформируются. Толщина стального обрамления зависит от веса двери. Шкафы-купе со стальными профилями достаточно прочны и надежны, а при правильной эксплуатации прослужат очень долго. Но чтобы двери не «играли» в стальном обрамлении, их размер не должен превышать установленных норм, связанных с жесткостью таких профилей. Для алюминиевых систем не существует подобных ограничений, но они ощутимо дороже.

Системы скольжения различаются также по принципу крепления роликов.

Самый распространенный способ крепления – нижний. Его суть заключается в том, что дверь в раме со встроенными роликами движется по металлическим направляющим, прикрепленным к дну шкафа. Ролики с шарикоподшипниковым механизмом считаются самыми надежными в своем классе. Такие системы бесшумны, потому что пластиковые ролики покрыты тефлоном. От попадания пыли механизм защищает надежный корпус. В отличие от старых систем с пластиковыми колесами, роликовые выносят большие нагрузки.

Рис. Детали крепления двери шкафа-купе:

верхний ролик; нижний ролик; профиль вертикальный; профиль горизонтальный

При верхнем типе крепления используются только верхние направляющие. Эта система абсолютно бесшумна, но имеются проблемы с установкой, потому что потолки не всегда ровные, так что могут возникнуть перекосы. Удобнее устанавливать двери с верхним типом крепления в корпусных шкафах-купе. В современных системах скольжения применяются специальные амортизирующие пластиковые пружины, поэтому возможность возникновения перекосов практически сведена к нулю.

Оформление фасада шкафа-купе зависит от конструкции. Алюминиевые профили выдерживают большую нагрузку, поэтому дизайн дверного полотна может сочетать разные материалы (стекло, зеркала, дерево, ДСП) в любых комбинациях и конфигурациях.

Для дверей со стальным профилем применяется меньшее количество отделочных материалов, а в композициях должны быть только горизонтальные линии. Уровень деформации таких систем зависит от жесткости металла и конструкции. У нас используют стальные профили западного производства. Не очень дорогие и достаточно качественные, но они позволяют использовать только 8-миллиметровые ДСП, возникают ограничения двери по размеру. Максимальная ширина – 91,2 см, а высота – 242 см. Для дверного полотна большего размера используются более жесткие профили. Есть конструкции, выдерживающие дверные полотна длиной до 2,75 м и шириной до 1,2 м из импортной 10-миллиметровой ДСП. Для более сложных проектов рекомендуется применять алюминиевые профили.

Характерно, что сама идея шкафа-купе как мебельного изделия для определенной квартиры и конкретного места в ней не стоит на месте, а развивается. Причем развивают ее производители комплектующих к шкафам. Так, до недавнего времени шкафы-купе нельзя было перемещать в пределах квартиры или комнаты. Это была мебель стационарная, что считалось существенным недостатком шкафов-купе. Сегодня эта проблема перестала существовать: любой шкаф-купе можно без особых потерь разобрать и заново собрать в другом месте. Понятно, что домашнему мастеру это новшество мало что дает, так как он сам проектирует изделие и сам воплощает идею в жизнь. Тем не менее, саму идею перестановки шкафа с места на место стоит взять на заметку, нельзя исключать при необходимости возможность перестановки своего детища. А возможность перестановки должна учитываться как условие еще на стадии проектирования.

Наиболее эффектно выглядят шкафы-купе, занимающие пространство между двумя стенами. При этом создается единая поверхность, позволяющая основное внимание уделить оформлению дверей. Что можно назвать еще одним положительным качеством шкафов-купе, так это возможность использовать для их декоративного оформления самые разнообразные материалы: стекло, зеркала, комбинации самых разных материалов – натуральных, искусственных, дерева, металла и т. д. Во всех случаях выбор материала остается за вами. Если в шкафу будут храниться книги, идеальным вариантом будет стекло, в каких-то случаях лучше будут смотреться открытые полки, а двери с зеркалами идеально подходят для гардеробных и в помещениях, где необходимо визуально расширить пространство.

Шкафы-купе многофункциональны. Во всяком случае, выбор, который предлагают производители комплектующих впечатляет разнообразием. Шкафы помогают не просто задействовать ранее пустовавшие углы и ниши, т.е. скрыть их, а использовать пустовавшее пространство с наибольшей выгодой. Важно спроектировать самый подходящий шкаф, в котором будут предусмотрены все вероятные потребности. Например, можно установить подсветку, карусельные вставки, опускающиеся турникеты, полочки, ящички и т. п. Что-то из этого можно сделать и самому, а что-что, возможно, практичнее купить в готовом виде.

При проектировании шкафа-купе надо учитывать возможность размещения в нем бытовой техники, их можно также сочетать с любой корпусной мебелью, а также встроенной мебелью.

Выбор цвета и тона определяется помещением, в котором изделие будет стоять. Все знают, что, например, в комнате с окном на юг предпочтительны холодные тона больших поверхностей. Если окна смотрят на север, выбирают теплые краски.

Можно предположить, что читатель, принявший решение сделать дома шкаф-купе, не возьмется мастерить все детали собственными руками, что-то придется приобрести в магазине, и это будет правильный поступок. Часть фурнитуры разумно приобрести в готовом виде. Что покупать, а от чего лучше всего отказаться?

Условно шкафы-купе (комплектующие) можно разделить на три класса. Наиболее дешевые комплекты: фурнитура и треки шкафов, обрамление двери из стали, а дверное полотно из 16-миллиметровой ДСП. Ролики в таких комплектах из пластика.

В класс повыше входят двери с профилем из тонкостенного прессованного алюминия. Здесь применяется и более тонкая ДСП (10-16 мм). Ролики с шарикоподшипниками, поэтому их скольжение более мягкое и бесшумное.

Наиболее высокое качество изделий в третьей группе. Это двери с алюминиевым профилем. Для их изготовления используются плиты, покрытые натуральным шпоном. В оформлении дверей применяют стекла, устойчивые к сильным ударам, зеркала для прочности крепят к панелям.

Известные различия в качестве фурнитуры есть в комплектации «начинки» шкафа. Например, для крепления полок можно использовать невидимые крепежи или, наоборот, очень даже видимые. Что выбрать и купить или сделать самому? На эти вопросы ответить может только читатель.

Производители шкафов предлагают комплекты, в которые входят пластиковые ролики без подшипников, алюминиевые направляющие и инструкция по сборке. Дверь в системе «сделай сам» двигается поверху, снизу стоят ограничители (чтобы при движении полотнище не болталось). В этих комплектах используется обычно панель из ДСП.

Не рекомендуется делать полки пролетом более 900 мм – это приводит к прогибу полки. Все раздвижные конструкции требуют очень точного исполнения корпуса мебели: малейший перекос приводит к ускоренному износу или поломке механизмов.

Еще одно ограничение связано с длиной направляющих. Хотя промышленность и выпускает направляющие длиной до 6 метров, внести их в квартиру целиком практически невозможно. Так что для создания длинного шкафа понадобится несколько секций, в месте стыковки которых возникает вертикальная технологическая перегородка, без которой в этом случае не обойтись.

О материалах. Какому отдать предпочтение – ДВП средней плотности или МДФ? С ДВП мы более или менее знакомы, а об МДФ знаем меньше.

МДФ – это продукт совершенствования сухой технологии производства ДВП, материал производят из сухих древесных волокон. Плиты МДФ отличаются большой прочностью, предназначены для изготовления мебели. Плиты влагостойки, хорошо переносят температурные колебания. Учитывая последнее качество, из МДФ делают мебель для кухонь, поскольку этот материал не деформируется под воздействием пара. По влагостойкости и прочности плиты МДФ опережают древесину, к тому же стоят гораздо дешевле.

МДФ покрывают искусственным и натуральным шпоном, ПВХ, термореактивной пленкой, а так же ламинатом самых разных цветов. МДФ, облицованные ламинатом, служат дольше.

В России МДФ производят с 1997 года.

Поделиться:
Популярные книги

Барон ненавидит правила

Ренгач Евгений
8. Закон сильного
Фантастика:
попаданцы
аниме
фэнтези
5.00
рейтинг книги
Барон ненавидит правила

В теле пацана

Павлов Игорь Васильевич
1. Великое плато Вита
Фантастика:
фэнтези
попаданцы
5.00
рейтинг книги
В теле пацана

Маленькая женщина Большого

Зайцева Мария
5. Наша
Любовные романы:
эро литература
современные любовные романы
5.00
рейтинг книги
Маленькая женщина Большого

Инженер Петра Великого 5

Гросов Виктор
5. Инженер Петра Великого
Фантастика:
попаданцы
альтернативная история
фэнтези
4.75
рейтинг книги
Инженер Петра Великого 5

Геном хищника. Книга четвертая

Гарцевич Евгений Александрович
4. Я - Легенда!
Фантастика:
боевая фантастика
рпг
попаданцы
5.00
рейтинг книги
Геном хищника. Книга четвертая

Черный маг императора

Герда Александр
1. Черный маг императора
Фантастика:
юмористическая фантастика
попаданцы
аниме
5.00
рейтинг книги
Черный маг императора

Двойник Короля 2

Скабер Артемий
2. Двойник Короля
Фантастика:
попаданцы
аниме
фэнтези
фантастика: прочее
5.00
рейтинг книги
Двойник Короля 2

Газлайтер. Том 25

Володин Григорий Григорьевич
25. История Телепата
Фантастика:
боевая фантастика
попаданцы
аниме
5.00
рейтинг книги
Газлайтер. Том 25

Локки 4 Потомок бога

Решетов Евгений Валерьевич
4. Локки
Фантастика:
аниме
фэнтези
5.00
рейтинг книги
Локки 4 Потомок бога

Месть Паладина

Юллем Евгений
5. Псевдоним `Испанец`
Фантастика:
фэнтези
попаданцы
аниме
7.00
рейтинг книги
Месть Паладина

Ларь

Билик Дмитрий Александрович
10. Бедовый
Фантастика:
городское фэнтези
мистика
5.75
рейтинг книги
Ларь

Изгой Проклятого Клана. Том 5

Пламенев Владимир
5. Изгой
Фантастика:
аниме
фэнтези
попаданцы
5.00
рейтинг книги
Изгой Проклятого Клана. Том 5

Искатель 10

Шиленко Сергей
10. Валинор
Фантастика:
рпг
фэнтези
попаданцы
гаремник
5.00
рейтинг книги
Искатель 10

Адвокат Империи 11

Карелин Сергей Витальевич
Адвокат империи
Фантастика:
городское фэнтези
альтернативная история
рпг
дорама
попаданцы
5.00
рейтинг книги
Адвокат Империи 11