Чтение онлайн

на главную - закладки

Жанры

Шрифт:
empty-line/>

Классификацию сварки можно провести по степени механизации процессов. Тогда выделяют сварку: ручную, механизированную (полуавтоматическую), автоматическую.

Ручная сварка производится оператором (сварщиком) с помощью инструмента вручную, без применения механизмов.

Механизированная сварка выполняется оператором при помощи устройства (машины или механизма), подающего электродную проволоку в зону сварки.

Автоматическая сварка осуществляется без участия человека. При этом механизируются операции по получению сварного шва по заданной программе.

По способу защиты металла различают: сварку в воздухе, в вакууме, в среде защитных газов, под слоем флюса, в пене и т. п.

Общая схема методов сварки плавления (рис. 1) может быть представлена рядом последовательных стадий состояния металла в зоне сварки:

1 – элементы собраны под сварку и закреплены в необходимом положении относительно друг друга. Между элементами остается зазор. В зоне стыка полностью отсутствуют химические связи;

2 – на поверхность металла в зоне стыка воздействуют мощным концентрированным потоком тепловой энергии Q. Подведенный тепловой поток нагревает кромки материала выше температуры плавления. Расплавленный металл обеих кромок сливается, образуется общая ванночка из жидкого металла (сварочная ванна). Ванночка удерживается на частично оплавленных кромках. Зазор между заготовками исчезает. Химические связи в жидком металле близки к химическим связям твердого тела, поэтому эту стадию принято называть образованием физического контакта;

3 – при прекращении теплового воздействия на кромки свариваемых элементов (выключение источника тепла или перемещение его вдоль кромок) зона сварки охлаждается за счет передачи теплоты вглубь свариваемых элементов и в окружающую среду. Происходит кристаллизация сварочной ванны с образованием литой структуры шва, т. е. создание химических связей по сечению свариваемого соединения. Частично оплавленные зерна основного металла на границе сварочной ванны являются основанием для «пристройки» атомов из жидкости для кристаллизации шва.

Рис. 1. Схема стадий образования соединения сваркой плавлением:

1 – сборка под сварку;

2 – образование сварочной ванны под воздействием теплоты;

3 – кристаллизация ванны с образованием сварного соединения;

4 – макроструктура зерен на границе шва.

Рассмотрим основные виды сварки плавлением.

Газовая сварка

Газовой сваркой называется сварка плавлением с использованием теплоты горючих газов.

Для плавления металлов используют тепло пламени смеси газов и кислорода, сжигаемых с помощью специальной горелки.

Газовая сварка классифицируется по виду применяемого горючего газа:

• ацетилено-кислородная сварка;

• керосино-кислородная сварка;

• бензино-кислородная сварка;

• пропанобутано-кислородная сварка.

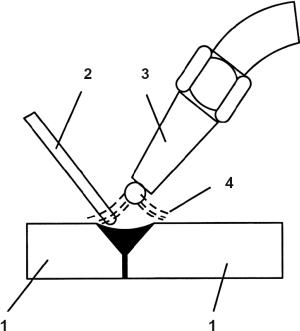
Сущность процесса газовой сварки (см. схему газовой сварки, рис. 2) заключается в том, что свариваемый и присадочный металлы расплавляются за счет тепла пламени (4) горелки. При этом кромки свариваемых заготовок (1) расплавляются, а зазор между ними заполняется присадочным металлом (2), который вводят в пламя горелки (3) извне. В качестве горючих газов применяются природные газы, нефтяные газы, а также водород, ацетилен, пары керосина и бензина и др. Наибольшее распространение получили сварка с использованием ацетилена, паров бензина, паров керосина, пропанобутана.

Рис. 2.

Схема газовой сварки

В процессе сварки металл соприкасается с газами пламени, а вне пламени – с окружающей средой (воздухом) или специально созданной газовой средой. В результате металл подвергается значительным изменениям. Наибольшим изменениям подвергается металл, расположенный в зоне сварочной ванны. При этом изменяется содержание примесей и легирующих добавок в металле. Одновременно металл в зоне сварки обогащается кислородом, водородом, азотом, углеродом. Для предотвращения процессов окисления и извлечения из жидкого металла сварочной ванны окислов и неметаллических включений применяются флюсы.

Расплавленный металл сварочной ванны представляет сплав основного и присадочного металлов. По мере удаления пламени горелки металл кристаллизуется в остывающей части ванны. Закристаллизовавшийся металл сварочной ванны образует металл шва. Шов имеет структуру литого металла с вытянутыми укрупненными кристаллами, направленными к центру шва.

В настоящее время в промышленности из множества видов газопламенной обработки металлов наибольшее применение получили газовая сварка, газовая пайка, кислородная резка.

Газы, применяемые при газовой сварке, резке и пайке

Кислород (О2)

При нормальном атмосферном давлении и обычной температуре кислород представляет собой газ без запаха, цвета и вкуса. Он несколько тяжелее атмосферного воздуха. При нормальном атмосферном давлении и температуре 20 °C масса 1 м3 кислорода равна 1,33 кг. Горючие газы при сгорании с кислородом дают высокую температуру. Сам кислород не горюч, не токсичен, не взрывоопасен, но является сильнейшим окислителем, резко увеличивающим способность других веществ к горению, а при определенных условиях – к взрыву.

В земной атмосфере находится около 20 % кислорода. Поэтому кислород получают из атмосферного воздуха на специальных установках методом ректификации. Например, на кислородных станциях воздух очищают от пыли, влаги и углекислоты. Далее очищенный воздух сжимается компрессором до высокого давления и охлаждается в теплообменниках до сжиженного состояния. Жидкий воздух разделяют на кислород и азот. Процесс разделения происходит вследствие того, что температура кипения жидкого азота (–195,8 °C) ниже температуры кипения жидкого кислорода (–182,96 °C). Азот, являясь более легкокипящим, испаряется первым. С помощью кислородного компрессора чистый кислород подают под давлением 15 МПа (150 кгс/см2) в специальные кислородные баллоны. Полученный технический кислород должен соответствовать ГОСТу 5583–78. В зависимости от сорта содержание чистого кислорода колеблется от 99,5 до 99,7 %. Баллоны с кислородом окрашивают в синий цвет с черной надписью «кислород» и используют только для кислорода. Температурный диапазон использования сжатого кислорода от –50 до +30 °C. Запрещается хранение и транспортировка наполненных баллонов при температуре выше 60 °C.

Поделиться:
Популярные книги

Антимаг его величества

Петров Максим Николаевич
1. Модификант
Фантастика:
фэнтези
попаданцы
аниме
5.00
рейтинг книги
Антимаг его величества

Снайпер

Поселягин Владимир Геннадьевич
3. Жнец
Фантастика:
боевая фантастика
попаданцы
5.60
рейтинг книги
Снайпер

Наследие Маозари

Панежин Евгений
1. Наследие Маозари
Фантастика:
рпг
попаданцы
аниме
5.80
рейтинг книги
Наследие Маозари

На границе империй. Том 6

INDIGO
6. Фортуна дама переменчивая
Фантастика:
боевая фантастика
космическая фантастика
попаданцы
5.31
рейтинг книги
На границе империй. Том 6

Кодекс Охотника. Книга XVII

Винокуров Юрий
17. Кодекс Охотника
Фантастика:
фэнтези
попаданцы
аниме
5.00
рейтинг книги
Кодекс Охотника. Книга XVII

Эволюционер из трущоб. Том 10

Панарин Антон
10. Эволюционер из трущоб
Фантастика:
попаданцы
аниме
фэнтези
фантастика: прочее
5.00
рейтинг книги
Эволюционер из трущоб. Том 10

Кодекс Охотника. Книга VII

Винокуров Юрий
7. Кодекс Охотника
Фантастика:
фэнтези
попаданцы
аниме
4.75
рейтинг книги
Кодекс Охотника. Книга VII

Бояръ-Аниме. Газлайтер. Том 34

Володин Григорий Григорьевич
34. История Телепата
Фантастика:
фэнтези
боевая фантастика
аниме
5.00
рейтинг книги
Бояръ-Аниме. Газлайтер. Том 34

Я князь. Книга XVIII

Дрейк Сириус
18. Дорогой барон!
Фантастика:
юмористическое фэнтези
попаданцы
аниме
5.00
рейтинг книги
Я князь. Книга XVIII

Петля, Кадетский Корпус. Книга четвертая

Алексеев Евгений Артемович
4. Петля
Фантастика:
боевая фантастика
попаданцы
аниме
5.00
рейтинг книги
Петля, Кадетский Корпус. Книга четвертая

Двойник Короля 7

Скабер Артемий
7. Двойник Короля
Фантастика:
аниме
фэнтези
фантастика: прочее
попаданцы
5.00
рейтинг книги
Двойник Короля 7

Лейб-хирург

Дроздов Анатолий Федорович
2. Зауряд-врач
Фантастика:
альтернативная история
7.34
рейтинг книги
Лейб-хирург

Сапер

Вязовский Алексей
1. Сапер
Фантастика:
героическая фантастика
попаданцы
альтернативная история
5.29
рейтинг книги
Сапер

На границе империй. Том 9. Часть 3

INDIGO
16. Фортуна дама переменчивая
Фантастика:
космическая фантастика
попаданцы
5.00
рейтинг книги
На границе империй. Том 9. Часть 3