Чтение онлайн

на главную - закладки

Жанры

Якоря

Скрягин Лев Николаевич

Шрифт:

Догадка французского ученого раскрыла тайну свинцовых брусков Средиземного моря. Их находят и поныне. Самый тяжелый из найденных весит 712 кг. Его длина 210 см. Длина же самого длинного свинцового штока составляет 216 см при массе 650 кг.

Изогнутый свинцовый брусок массой 372 фунта, который когда-то англичане считали рогами древнегрече. — ского якоря, был найден с куском деревянного веретена в Киренах в конце прошлого века. С одной стороны этого штока стоит надпись «ZEYC», с другой — «УПАТОС». Анализ металла, проведенный Королевским монетным двором Великобритании, показал, что он состоит из 98,65 % свинца, 0,55 % железа, 0,12 % олова, 0,011 % серебра и 0,0005 % золота. Из такого же точно сплава сделан шток древнегреческого якоря, который хранится в Национальном музее в Афинах.

Sacram anchoram solvere

Какие же конструкции якорей применяли на своих кораблях древние греки и римляне?

Более или менее конкретное представление об этом дают дошедшие до наших дней эллинские барельефы, росписи по керамике, мозаики, описания современников и находки памятников, подобных галерам Калигулы.

До появления железных якорей древние мореплаватели Египта, Вавилона, Финикии, Карфагена, Греции и Рима применяли якорные камни, камни с деревянными стержнями, сети, мешки и корзины с камнями, кедровые колоды с оловом, камни с прикрепленными сучьями, деревянные якоря со штоком из дерева, деревянные якоря с каменным штоком и такие же со свинцовым штоком.

Из штоковых якорей наиболее распространенными были деревянные с каменным штоком. Прямые, поставленные под острым углом дубовые рога крепились к нижней части веретена на шипах и обматывались в месте соединения веревкой.

Каменный шток с прямоугольными вырезами в средней части крепился к веретену также веревкой. Якорный рым делался в виде прочной веревочной петли.

Конструкция якоря со свинцовым фигурным штоком более совершенна. Здесь рога крепятся к веретену на шипах и клиньях из орехового дерева. Чтобы концы рогов не расцеплялись при падении на твердый грунт, они покрыты железными листами на гвоздях квадратного сечения. Рога скреплены с веретеном свинцовой рамой.

В верхней части веретена есть отверстие, через которое заведен железный кованый рым. Шток якоря отлит из чистого свинца (рис. 37). Некоторые зарубежные специалисты по истории античного кораблестроения утверждают, что якорь со свинцовым штоком — не римское изобретение. По их мнению, такие якоря впервые применили на своих кораблях этруски — представители древнейшей могущественной морской державы '- союзницы Карфагена.

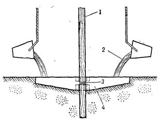
На сотнях найденных за последние годы свинцовых штоков есть надписи на древнегреческом и латинском языках, отдельные буквы, цифры и художественные изображения. Начнем с надписей. Наиболее часто повторяющаяся «Marcus Sevelus» — «Маркус Севелус». У всех штоков с этой надписью одна особенность: сделанное в середине штока отверстие не сквозное, а с перемычкой из свинца. Именно эта перемычка и дала возможность археологам восстановить картину технологии изготовления якорей. Надпись же «Marcus Sevelus» оказалась не чем иным, как именем якорного мастера. Оно фигурирует в хрониках Древнего Рима того периода. Маркус Севелус не соединял свинцовый шток с деревянным веретеном веревкой и не насаживал его на веретено после отливки. Деревянное веретено 1 (рис. 38) с небольшим круглым отверстием вставлялось в земляную форму штока 4, которая заливалась расплавленным свинцом 2. Чтобы веретено в месте соединения не обгорало, применялись огнеупорные обмазки, возможно — глиняно-песчаные. Получающаяся таким образом перемычка 3 оказывалась как бы стержнем, крепящим свинцовый шток на деревянном веретене якоря.

На рис. 39 показан свинцовый шток с такой перемычкой, крепившей когда-то его к деревянному веретену. Сейчас он хранится в Национальном музее в Афинах. Считают, что его изготовление относится к эпохе возникновения христианства.

37. Реконструкция якоря римского мастера Маркуса Севелуса

38. Схема изготовления свинцового штока с перемычкой по методу Маркуса Севелуса

Если все поднятые со дна Средиземного моря свинцовые штоки рассматривать в примерной хронологии их появления, нельзя не заметить важной закономерности: с приближением к началу нашей эры масса штоков явно уменьшается.

Видимо, древние греки и римляне поняли, что орудовать с якорями массой в тонну дело нелегкое. Хотя те и другие прекрасно умели использовать блоки и вороты, якорь нужно было опускать и поднимать. Да, именно опускать! Можно смело утверждать, что они не бросали свои хрупкие якоря на дно. Якоря они очень берегли и обращались с ними осторожно. Но об этом позже.

Штоки, которые археологи относят к I в. до н. э., значительно тоньше, легче и даже обшиты деревом. Такой облегченный шток нашли лет десять назад французские аквалангисты близ мыса Коре. Его длина 192 см, масса 240 кг.

Свинцовый шток длиной 170 см и массой около 200 кг вместе с обломком деревянного веретена обнаружил несколько лет назад экипаж советского земснаряда «Кубань-3» во время углубления канала в Керченскую бухту. Он тоже относится к I в. до н. э.

И еще о надписях на древних якорях. Как правило, на больших свинцовых штоках массой 600–700 кг встречается надпись на латинском языке «Зевс — бог всемогущий и спаситель» или просто латинская буква «Z». Иногда на торцах свинцового штока можно встретить изображение головы Медузы. Эти штоки — от особых якорей. У древних обитателей Средиземноморья они именовались «Anchora Sacra» — «священный якорь».

39. Свинцовый якорный шток с перемычкой (Национальный музей в Афинах)

Задумаемся на минуту, сколь зависимы от ветра и волн были древние мореплаватели! Сколько раз неуклюжие, малоостойчивые корабли греков и римлян, плававшие в основном только с попутным ветром, становились жертвами бурь. Не сразу мореходы Средиземного моря постигли премудрость господствующих течений, не сразу нанесли на свои примитивные карты опасные рифы и мели. Утлые суденышки дрейфовали «без руля и без ветрил» у опасного подветренного берега. В таких случаях вся, надежда попавших в беду моряков возлагалась на «священный якорь» — самый большой и тяжелый из всех находящихся на корабле. Им пользовались лишь тогда, когда судну грозила, неминуемая гибель.

Мореплаватели древности были очень набожны и — суеверны. Море они считали царством тьмы и неизвестности, населенным злыми и добрыми духами, которыми правит всемогущий Нептун. Поэтому перед тем как отдать якорь, мореходы Древнего Рима молились богам- покровителям и вырезали на деревянных рогах заклинания. Да и само изготовление «священного якоря» завершалось особым религиозным обрядом. В Древней Греции после того как мастер заканчивал работу, якорь торжественно переносили в храм Зевса… Там целую неделю якорю воздавались пышные почести, курились благовония, произносились молитвы, приносились жертвы… После этого служители храма вырезали на рогах якоря священные знаки, назначение которых — отвести от мореходов ¦- обладателей якоря злой дух, болезни и смерть. На штоке выбивалось стандартное клеймо- девиз: «Зевс — бог всемогущий и спаситель». Но почему на торцах свинцового штока вырезалось изображение Медузы-горгоны — чудовища, изображавшегося в виде женщины с головой, покрытой вместо волос извивающимися змеями? Оказывается, в позднейших мифах Медуза превратилась уже в прекрасную девушку, возлюбленную Посейдона, которому она родила Пегаса. Изображение ее головы на штоках якорей следует рассматривать как заклинание, отвращавшее от моряков опасность.

Несколько десятков свинцовых штоков с изображением головы Медузы нашли на дне моря у берегов Испании, Ливии и Ливана. Это были штоки «священных якорей».

В память о былом значении «священного якоря» в латыни осталось крылатое выражение: «Sacram anchoram solvere» — «Спасаться священным якорем», т. е. прибегать к последнему средству.

Огромное значение придавалось якорю моряками всех стран и в более поздние времена. Так, например, отношение моряков к якорю в эпоху парусного флота красноречиво отражено в дошедших до нас выражениях итальянского языка: «Ultima апсога» — «последний якорь», «последняя надежда»; норвежского: «Rednings anker» — «якорь спасения», французского: «Ancre d’Esperance» — «якорь надежды», «Ancre d’emisericorde» — «якорь спасения», «Ancre sacree» — «священный якорь», «L’ancre de salut» — «якорь спасения», и даже «Maitresse ancre» — «госпожа якорь» (во французском языке слово «якорь» женского рода).

Поделиться:
Популярные книги

Возмутитель спокойствия

Владимиров Денис
1. Глэрд
Фантастика:
фэнтези
боевая фантастика
попаданцы
5.00
рейтинг книги
Возмутитель спокойствия

Моров. Том 4

Кощеев Владимир
3. Моров
Фантастика:
фэнтези
попаданцы
альтернативная история
аниме
5.00
рейтинг книги
Моров. Том 4

Наследие Маозари 2

Панежин Евгений
2. Наследие Маозари
Фантастика:
попаданцы
рпг
аниме
5.00
рейтинг книги
Наследие Маозари 2

Последний Паладин. Том 3

Саваровский Роман
3. Путь Паладина
Фантастика:
юмористическое фэнтези
попаданцы
аниме
5.00
рейтинг книги
Последний Паладин. Том 3

#Бояръ-Аниме. Газлайтер. Том 11

Володин Григорий Григорьевич
11. История Телепата
Фантастика:
фэнтези
попаданцы
аниме
5.00
рейтинг книги
#Бояръ-Аниме. Газлайтер. Том 11

Шайтан Иван 3

Тен Эдуард
3. Шайтан Иван
Фантастика:
попаданцы
альтернативная история
7.17
рейтинг книги
Шайтан Иван 3

Сильнейший Столп Империи. Книга 1

Ермоленков Алексей
1. Сильнейший Столп Империи
Фантастика:
аниме
фэнтези
фантастика: прочее
попаданцы
5.00
рейтинг книги
Сильнейший Столп Империи. Книга 1

"Дальние горизонты. Дух". Компиляция. Книги 1-25

Усманов Хайдарали
Собрание сочинений
Фантастика:
фэнтези
боевая фантастика
попаданцы
5.00
рейтинг книги
Дальние горизонты. Дух. Компиляция. Книги 1-25

Идеальный мир для Лекаря 5

Сапфир Олег
5. Лекарь
Фантастика:
фэнтези
юмористическая фантастика
аниме
5.00
рейтинг книги
Идеальный мир для Лекаря 5

Последний Паладин. Том 5

Саваровский Роман
5. Путь Паладина
Фантастика:
фэнтези
попаданцы
аниме
5.00
рейтинг книги
Последний Паладин. Том 5

Курсант: назад в СССР 2

Дамиров Рафаэль
2. Курсант
Фантастика:
попаданцы
альтернативная история
6.33
рейтинг книги
Курсант: назад в СССР 2

Я еще барон. Книга III

Дрейк Сириус
3. Дорогой барон!
Фантастика:
боевая фантастика
попаданцы
аниме
5.00
рейтинг книги
Я еще барон. Книга III

Меченный смертью. Том 1

Юрич Валерий
1. Меченный смертью
Фантастика:
аниме
фэнтези
попаданцы
5.00
рейтинг книги
Меченный смертью. Том 1

Зеркало силы

Кас Маркус
3. Артефактор
Фантастика:
городское фэнтези
попаданцы
аниме
5.00
рейтинг книги
Зеркало силы