Чтение онлайн

на главную - закладки

Жанры

Шрифт:

Выкружная ножовка применяется для опиливания по кривым линиям. При необходимости выпилить отверстие (круглое, квадратное и т. п.), в заготовке необходимо сделать одно или несколько отверстий, чтобы конец полотна ножовки входил в них свободно.

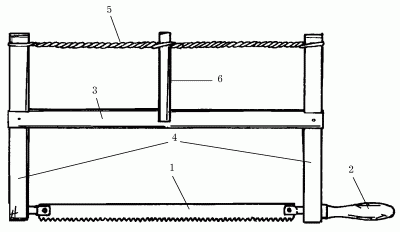
Лучковая пила используется в случае, если предстоит выполнить большой объем плотничных и столярных работ (рис. 14).

Рис. 14. Лучковая пила: 1 – полотно; 2 – ручка; 3 – средник; 4 – стойки; 5 – тетива; 6 – закрутка.

Эта пила более производительна, чем ножовка, и позволяет менять полотна: для продольного и поперечного пиления, с мелкими и крупными зубьями.

Электропила

Широко применяются электропилы ЭП-5КМ, ЭП-К6, К-5М, ИЭ-5107.

Пилы ЭП-5КМ, ЭП-К6, К-5М необходимы для распиливания необтесанных бревен, кряжей, досок, брусьев. Режущей частью пил является пильная цепь, состоящая из зубьев, которые скреплены между собой шарнирами.

При работе с этими электропилами соблюдают правила техники безопасности.

1. Не работают с пилой во влажном помещении при напряжении выше 36 В.

2. Чтобы перенести пилу, ее помещают в чехол.

3. По окончании работ пилу убирают в шкаф или в специально отведенное для нее место.

Пила ИЭ-5107 благодаря своей частоте вращения может распиливать древесные материалы толщиной 65 мм. Ее также можно использовать как стационарный станок, если предварительно установить на верстаке.

Чтобы работу с пилой сделать максимально безопасной, проверяют, правильно ли заточены и разведены ее зубья, как посажен диск на шпиндель, нет ли на диске трещин и других повреждений. Состояние редуктора проверяют проворачиванием диска. Если диск проворачивается с затруднением, то разжижают смазку, включая на 60 с холостой ход инструмента.

Затем, когда все неисправности будут удалены, правой рукой захватывают заднюю рукоятку, а левой – переднюю и устанавливают режущую часть пилы на материале, предварительно закрепленном на верстаке. Пилу направляют строго по намеченной линии, плавно, без резких толчков, так как при резких и быстрых движениях диск инструмента может заклинить, что приведет к поломке электродвигателя.

В том случае, если диск все же заклинил и остановился, электропилу слегка отводят назад, чтобы диск вышел и набрал необходимую частоту вращения, после этого продолжают распиливание. Если диск не может набрать нужную частоту вращения, работу с пилой прекращают.

Когда распиливание будет закончено, инструмент отключают, обтирают ветошью, смоченной в керосине, и убирают на хранение.

Топор

Топоры незаменимы в строительных и плотничных работах. Устроен топор проще молотка, но имеет несколько видов, различающихся по форме топорища и лезвия, а также по видам работы, для которой используется.

Многое зависит от угла расположения топорища относительно рукоятки. Зачастую лезвие затачивают с обеих сторон, что позволяет использовать его сразу для двух видов работ: для рубки и тесания. Заточенный только с одной стороны топор применяется для тесания древесины.

Прямой топор используется только для рубки древесины. Его топорище относительно рукоятки должно быть расположено под углом не меньше 90° (рис. 15).

Рис. 15. Прямой топор.

Остроугловой топор предназначен для первичной обработки древесины: удаления коры и выступающих сучков на стволе. Топорище этого типа топора относительно рукоятки расположено под углом 80–85°.

Тупоголовый топор имеет некоторые особенности. Его топорище относительно рукоятки расположено под углом 100° или чуть меньше. Такой топор используется для наиболее грубых работ, например присооружении сруба деревянного дома или бани из целых стволов.

Затачивают топор на круглом мокром точиле, держа его одной рукой за обух, другой – за середину топорища. Точило должно вращаться навстречу лезвию, а не наоборот. Если топор был сильно зазубрен, то режущую кромку перед заточкой сначала следует выровнять напильником, затем снять образовавшиеся заусенцы. Для этого топор затачивают на бруске: берут обеими руками за обух и фаской лезвия водят по поверхности бруска вперед и назад, переворачивая поочередно на каждую сторону. Брусок необходимо смачивать водой, иначе он быстро засалится. После заточки топор следует править оселком. Оселок смачивают машинным маслом и круговыми движениями без нажима водят то по одной, то по другой фаске топора.

В домашних условиях приходится ограничиваться заточкой на бруске и правкой оселком. Но ни в коем случае не следует точить топор на шлифовальном круге электрического точила. Лезвие, конечно, можно сделать острым, но при частом использовании топор быстро затупится.

Следует быть очень осторожным и внимательным при обращении с этим видом инструмента.

Зубило

Для вырубания отверстий, перерубания проволоки и отдельных полосок используют зубила различных видов. Например, слесарным зубилом, изготовленным из специальной инструментальной стали овального сечения, рубят сталь толщиной примерно 1 мм, зубилом Когана, имеющим достаточно широкую режущую часть, прорубают стальные листы толщиной до 1 мм.

Детали небольших размеров рубят по намеченным линиям, предварительно зажав в тиски (рис. 16), а детали больших размеров рубят также по намеченным линиям, но только на столе, покрытом листовой сталью толщиной 13–15 мм.

Рис. 16. Положение зубила при рубке заготовки в тисках.

В процессе рубки в тисках обращают внимание на то, чтобы режущий край зубила шел на одном уровне с губками. Деталь для этого зажимают так, чтобы риска совмещалась с краем вкладыша тисков. Детали из стали толщиной до 1,5 мм обрубают в один прием, а толщиной в 1,6 мм и более – в два приема.

Во время рубки следят за тем, чтобы режущий край инструмента двигался строго по намеченной линии. Инструмент держат левой рукой с легким наклоном к отрубаемой части. По зубилу ударяют молотком. Выполнив прорубы на одной стороне детали, деталь переворачивают на другую сторону и повторяют ту же операцию, затем деталь разламывают руками.

В процессе рубки деталей следят за тем, чтобы мелкие кусочки, отлетев в сторону, не поранили тех, кто находится поблизости.

Поделиться:
Популярные книги

Офицер Красной Армии

Поселягин Владимир Геннадьевич
2. Командир Красной Армии
Фантастика:
попаданцы
8.51
рейтинг книги
Офицер Красной Армии

Эфемер

Прокофьев Роман Юрьевич
7. Стеллар
Фантастика:
боевая фантастика
рпг
7.23
рейтинг книги
Эфемер

На границе империй. Том 10. Часть 5

INDIGO
23. Фортуна дама переменчивая
Фантастика:
космическая фантастика
попаданцы
5.00
рейтинг книги
На границе империй. Том 10. Часть 5

Битва за Изнанку

Билик Дмитрий Александрович
7. Бедовый
Фантастика:
городское фэнтези
мистика
5.00
рейтинг книги
Битва за Изнанку

Вперед в прошлое 9

Ратманов Денис
9. Вперед в прошлое
Фантастика:
попаданцы
альтернативная история
5.00
рейтинг книги
Вперед в прошлое 9

Газлайтер. Том 3

Володин Григорий
3. История Телепата
Фантастика:
попаданцы
альтернативная история
аниме
5.00
рейтинг книги
Газлайтер. Том 3

Последний Герой. Том 5

Дамиров Рафаэль
5. Последний герой
Фантастика:
попаданцы
альтернативная история
5.00
рейтинг книги
Последний Герой. Том 5

Травница Его Драконейшества

Рель Кейлет
Любовные романы:
любовно-фантастические романы
5.00
рейтинг книги
Травница Его Драконейшества

Стеллар. Трибут

Прокофьев Роман Юрьевич
2. Стеллар
Фантастика:
боевая фантастика
рпг
8.75
рейтинг книги
Стеллар. Трибут

Ружемант

Лисицин Евгений
1. Ружемант
Фантастика:
попаданцы
рпг
аниме
5.00
рейтинг книги
Ружемант

Гранд империи

Земляной Андрей Борисович
3. Страж
Фантастика:
фэнтези
попаданцы
альтернативная история
5.60
рейтинг книги
Гранд империи

Князь Андер Арес 5

Грехов Тимофей
5. Андер Арес
Фантастика:
историческое фэнтези
фэнтези
героическая фантастика
5.00
рейтинг книги
Князь Андер Арес 5

Идеальный мир для Лекаря 8

Сапфир Олег
8. Лекарь
Фантастика:
юмористическое фэнтези
аниме
7.00
рейтинг книги
Идеальный мир для Лекаря 8

Газлайтер. Том 1

Володин Григорий
1. История Телепата
Фантастика:
попаданцы
альтернативная история
аниме
5.00
рейтинг книги
Газлайтер. Том 1