Чтение онлайн

на главную - закладки

Жанры

Тепло в загородном доме
Шрифт:

– нагрева помещений в первый период отопления, когда массив печи еще не прогрелся;

– увеличения теплоотдающей поверхности печи.

Виды печей

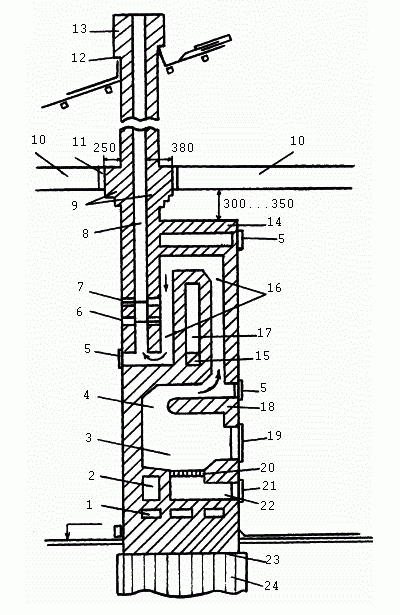
Отопительная печь – бытовая печь, служащая только для обогрева помещений (рис. 1). Обычно отопительную печь располагают в передней половине дома.

К отопительным печам относят:

– голландские печи различных конструкций и размеров;

– стальные и чугунные времянки.

Голландская печь первоначально представляла собой четырехугольную отопительную печь, имеющую глухой под и шесть последовательно соединенных вертикальных дымовых каналов. В настоящее время термином «голландская печь» называют большую отопительную кирпичную печь с толстыми наружными стенками и хорошо развитыми дымооборотами. Голландские печи теплоемки и не остывают в течение длительного промежутка времени.

По толщине наружных стенок различают тонкостенные, толстостенные и комбинированные печи.

По применяемому материалу различают кирпичные, чугунные и железные печи, а также печи из жаропрочного бетона и керамики.

Калорифер – печь, предназначенная для обогревания квартир и зданий. Калорифер устанавливается в камере, устраиваемой в подвальном этаже. Принцип его работы заключается в прогревании воздуха, проходящего через камеру, до температуры, обеспечивающей его доступ на все этажи здания и во все помещения.

Рис. 1. Функциональные элементы отопительной печи: 1 – шанцы; 2 – подтопочный канал нижнего обогрева; 3 – топливник; 4 – проем в перекрытии топливника (хайло); 5 – чистки (небольшие металлические дверки); 6, 7 – задвижки; 8 – дымовой канал (дымоход); 9 – противопожарная разделка; 10 – перекрытие потолочное; 11 – теплоизоляция; 12 – выдра (выступ оголовка трубы); 13 – оголовок дымовой трубы; 14 – перекрыша; 15 – душник; 16 – конвективная система; 17 – тепловоздушная камера (открытая полость, которая обогревается дымооборотами, но не сообщается с ними); 18 – свод (перекрытие топливника); 19 – дверка топочная; 20 – решетка колосниковая; 21 – дверка поддувальная; 22 – поддувало (зольник); 23 – гидроизоляция; 24 – фундамент

Камин – открытая комнатная печь с прямым дымоходом, согревающая комнаты непосредственно пламенем горящего в ней топлива.

Мультипликатор – чугунный ребристый ящик, вставляемый в топливник в качестве его ребристых внутренних стенок (рис. 2).

Рис. 2. Мультипликатор: 1 – топливник; 2 – мультипликатор

Но в настоящее время этот прибор уже перестали употреблять, так как было доказано, что на повышение КПД печи он не влияет. Кроме того, мультипликаторы усложняют устройство печи и уход за ней, приводят к пригоранию органической пыли, повышают содержание углекислоты в воздухе до 15%.

Стенки мультипликатора, входящие внутрь топливника, сильно нагреваются и быстро отдают тепло воздуху внутри самого прибора. Мультипликатор нагревает воздух в помещении сразу же после затопки, точно так же как железная печь (времянка), и это производит обманчивое впечатление полезности прибора. Однако ухудшается работа самого топливника, так как понижается температура в нем.

Отопительно-варочная, или бытовая, печь – предназначена для отопления, а также приготовления пищи, нагревания воды и выпечки хлеба в небольших количествах. Отопительно-варочные печи имеются в кухонных плитах, духовых шкафах и водогрейных коробках. Печи, предназначенные для выпечки хлеба, имеют специальные камеры. Такие печи располагаются в одном из углов задней половины дома. К отопительно-варочным печам относят русские печи, кухонные плиты с обогревательными щитками, печи типа шведка и др.

Очаг – печь длительного горения. Очагами являются плиты, каминные и кафельные печи, камины и другие устройства, устанавливаемые в жилом помещении для сжигания природного топлива с целью обогрева.

Печь Вимана – печь, основанная на принципе противотока. Согласно этому принципу огневой канал, соединенный с топкой, отделен от оболочки печи с помощью «сухого» стыка или дымового канала; дымовые газы удаляются через дымоход в основании печи; внутри печи идущие вниз дымовые газы все время охлаждаются, а воздух поднимается вверх с наружной стороны печи и нагревается. Печи Вимана обеспечивают равномерную и эффективную циркуляцию теплого воздуха в помещении.

По мере усовершенствования конструкций печей, действующих по принципу противотока, в конце ХIХ – начале ХХ века были разработаны вертикальные и кафельные печи, многие из которых остаются популярными и по сей день.

Проектирование очагов, действующих по принципу противотока, должно быть выполнено так, чтобы место их присоединения к дымоходу проходило по центральной линии. Если такое подсоединение выполняют сбоку, то со стороны соединения боковой канал должен быть сужен, а противоположный – расширен, с тем чтобы канал со стороны дымовой трубы оказался на 20–40 мм уже в поперечном сечении.

Печь Утермарка – голландская печь с тонкими стенками, защищенная круглым железным футляром. Различают круглые, прямоугольные и угловые печи Утермарка.

Печь длительного горения – печь, в которой при ее загрузке достаточным количеством топлива горение продолжается в течение нескольких часов.

Печь-времянка – печь небольшого размера и простейшей конструкции. Обычно времянки устраиваются из красного кирпича или сырца. Печи такого типа устанавливают в помещениях временного характера.

Печь-стеновка – печь, встроенная в перегородку.

Для подвода холодного и выпуска из камер теплого воздуха используются отверстия, в которые вставляются розетки, решетки и душники.

Теплонакопитель – прибор, аккумулирующий тепло, полученное от электрических нагревательных элементов в ночное время и отдающий накопленное тепло в остальное время суток. Теплонакопитель позволяет снизить затраты на отопление за счет разницы в ночных и дневных тарифах на электроэнергию.

Печь-лежанка – в прошлые годы была очень популярна, ее даже предпочитали голландской печи, так как она представляла большие удобства для семьи среднего достатка. На ней спали, согревали больного, сушили белье.

Печь-камин – представляет собой камин, выстроенный на одном фундаменте с печью, с одной общей дымовой трубой. В садовых и дачных домах эту конструкцию дополняют небольшая встроенная плита и духовка. В том случае, если дымоходы печи и камина раздельные, камин и печь топят как одновременно, так и по отдельности.

Печь каминного типа (комбинация камина с печью, отопительный камин, совмещенный с печью, каминные печи Туликиви), представляет собой печь или очаг, оборудованный большими входными дверцами (рис. 3), с верхним и нижним соединениями с дымовой трубой.

Поделиться:
Популярные книги

Тринадцатый IV

NikL
4. Видящий смерть
Фантастика:
боевая фантастика
попаданцы
5.00
рейтинг книги
Тринадцатый IV

Черный Маг Императора 10

Герда Александр
10. Черный маг императора
Фантастика:
юмористическое фэнтези
попаданцы
аниме
сказочная фантастика
фэнтези
5.00
рейтинг книги
Черный Маг Императора 10

Зауряд-врач

Дроздов Анатолий Федорович
1. Зауряд-врач
Фантастика:
альтернативная история
8.64
рейтинг книги
Зауряд-врач

Газлайтер. Том 17

Володин Григорий Григорьевич
17. История Телепата
Фантастика:
боевая фантастика
попаданцы
аниме
5.00
рейтинг книги
Газлайтер. Том 17

Огненный князь 2

Машуков Тимур
2. Багряный восход
Фантастика:
фэнтези
попаданцы
аниме
5.00
рейтинг книги
Огненный князь 2

Московское золото и нежная попа комсомолки. Часть Третья

Хренов Алексей
3. Летчик Леха
Фантастика:
попаданцы
альтернативная история
5.00
рейтинг книги
Московское золото и нежная попа комсомолки. Часть Третья

Хозяин Теней 3

Петров Максим Николаевич
3. Безбожник
Фантастика:
попаданцы
аниме
фэнтези
фантастика: прочее
5.00
рейтинг книги
Хозяин Теней 3

Вперед в прошлое 11

Ратманов Денис
11. Вперед в прошлое
Фантастика:
попаданцы
альтернативная история
5.00
рейтинг книги
Вперед в прошлое 11

Чужая семья генерала драконов

Лунёва Мария
6. Генералы драконов
Фантастика:
фэнтези
5.00
рейтинг книги
Чужая семья генерала драконов

Черный дембель. Часть 1

Федин Андрей Анатольевич
1. Черный дембель
Фантастика:
попаданцы
альтернативная история
5.00
рейтинг книги
Черный дембель. Часть 1

Я - злодейка в дораме. Сезон второй

Вострова Екатерина
2. Выжить в дораме
Фантастика:
уся
фэнтези
сянься
попаданцы
5.00
рейтинг книги
Я - злодейка в дораме. Сезон второй

Имперец. Том 5

Романов Михаил Яковлевич
4. Имперец
Фантастика:
попаданцы
альтернативная история
аниме
6.00
рейтинг книги
Имперец. Том 5

Меченный смертью. Том 3

Юрич Валерий
3. Меченный смертью
Фантастика:
аниме
фэнтези
попаданцы
5.00
рейтинг книги
Меченный смертью. Том 3

Моя простая курортная жизнь

Блум М.
1. Моя простая курортная жизнь
Проза:
современная проза
5.00
рейтинг книги
Моя простая курортная жизнь