Чтение онлайн

на главную - закладки

Жанры

Кузнец-любитель
Шрифт:

Операция сообщения металлу известной мягкости посредством накаливания и обработки его в этом состоянии называется ковкою, а ремесло, на ней основанное, – ковальным или кузнечным делом. В кузнице, впрочем, производится не одна только ковка, но также сварка (соединение) отдельных кусков металла между собою, закалка стали и другие операции, требующие нагрева, но не плавления, которое относится к литейному делу.

Ковкою металла имеют цель придать вещи только приблизительную форму и подходящие размеры, что же касается до отделки ее, то это относится к слесарной или токарной работе. Таким образом, кузнец, в большинстве случаев, только оболванивает вещь, облегчая непосредственно следующую затем работу слесаря или токаря. Но есть вещи и изделия, которые выходят из рук кузнеца в совершенно готовом виде: например, подковы для лошадей, гвозди, скобы, болты, петли, крюки и т. п.

Кузнечные горны

Ковать металлы можно только в нагретом состоянии, именно до той температуры, когда металл получит достаточную для обработки его молотком степень мягкости и способность изменять форму по произволу кузнеца.

Наши обыкновенные печи, даже при самом усиленном накаливании их, для этой цели не годятся, ибо не в состоянии развить требуемую высокую температуру, а потому употребляется специальная печь – кузнечный горн, в котором энергия горения поддерживается искусственно, посредством особых воздуходувных приборов – мехов и вентиляторов.

Для отковки металлов употребляются два рода горнов – постоянные и переносные. Те и другие служат для одной и той же цели, но различаются по своей конструкции. Постоянный горн складывается из кирпича на постоянном месте.

Что же касается переносных горнов, то они обыкновенно покупаются готовыми; их можно ставить в любом помещении, а также на открытом воздухе. Неудобство их заключается только в том, что в них нельзя нагреть крупную вещь, но для мелких отковок и других кузнечных работ слесарного производства переносный горн является вполне пригодным.

Постоянный горн. Кузницу с постоянным горном можно устроить в холодном помещении, иногда даже для нее отводят просто сарай с потолком и прочною крышею, стены которого собраны из пластин. Пол в кузнице выстилается плитами или же, в крайнем случае, делается из щебня, который должен быть плотно утрамбован.

Горн для экономии иногда срубают из дерева и только верхнюю часть складывают из кирпича, но такой способ постройки, однако, рекомендовать нельзя, так как дерево, усыхая и давая осадку, может ослабить кладку, а чрез образовавшиеся щели может проникнуть огонь и сделаться пожар. Удобнее и практичнее устраивать горн на бутовом фундаменте для того, чтобы горн стоял твердо и при осадке не дал трещин. Такой горн показан в поперечном разрезе на рис. 1. Он состоит из продолговатого очага А, выложенного на своде Б для уменьшения тяжести горна.

Рис. 1

Существенную часть горна составляет углубление В, называемое горновым гнездом. Здесь сосредоточивается горение угля и развивается высокая температура, необходимая для накаливания металла. Гнездо имеет продолговатую форму с полукруглым дном, понижающимся к задней стенке горна. Гнездо выкладывается из огнеупорного кирпича, так как простой кирпич, вследствие сильного жара, развиваемого в гнезде, скоро прогорает. В задней стенке горна вставлена чугунная плита Д (рис. 2), проходящая до дна ямы и предназначенная для предохранения этой стенки от прогорания. В плиту Д, фурменную, вставляется металлическая трубка, называемая фурмой и показанная на рис. 3.

Рис. 2, 3

Что касается верхней (горизонтальной) площадки горна, то она также покрывается чугунной плитой Е с соответствующим вырезом для гнезда.

Над горном укрепляется железный колпак К с отводною трубою для вытягивания газообразных продуктов горения топлива в дымовую трубу.

Позади горна устанавливается кузнечный мех М, называемый клинчатым; наружный вид такого меха отдельно изображен на рис. 4. Он служит для вдувания чрез фурму в гнездо воздуха для усиления горения топлива. Мех приводится в движение посредством рычага, один конец которого соединен с мехом, а на другом (у горна) привязана веревка с рукояткою так, что кузнец может раздувать огонь, не отходя от горна.

Рис. 4

Кузнечный мех представляет род гармоники, составленной из трех деревянных щитов: верхнего, нижнего и среднего, обитых (по кромкам) мягкою складчатою кожею. Кожа эта должна плотно прилегать краями к дереву для того, чтобы в местах скрепления не проникал вовнутрь мехов атмосферный воздух, так как иначе мех не будет действовать. Кожу прибивают к щитам небольшими гвоздями с широкими конусообразными шляпками, располагая их вплотную одна к другой. Для того же, чтобы в случае необходимости для починки меха можно было вынуть гвозди, не испортив кожи, надо их прибить по узкой кожаной полоске (ремешку, прошивке). Для меха идет юфтевый [3] товар, достаточно толстый и мягкий, без прорезов, пробоин и вообще каких-либо недостатков и пороков.

3

Юфтевый – сделанный из юфти, особым образом выделанной толстой прочной мягкой кожи.

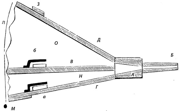
В продольном разрезе клинчатый мех изображен на рис. 5. К деревянной колодке А приделан наглухо щиток Г, тогда как другие щиты В и Д соединены с колодкою посредством шарниров и, следовательно, могут подниматься и опускаться. Щит В делит внутреннее пространство мехов, ограниченное кожею, на две полости, верхнюю О и нижнюю Н. Колодка А оканчивается железною трубкою или соплом Б, которое вставляется в фурменное отверстие стенки горна. В щитах Г и В имеются отверстия квадратного сечения с клапанами б и а, к дощечкам которых приделаны ремешки, позволяющие открываться и закрываться. Мех приводится в действие следующим образом: если ослабить рычаг i (рис. 1), а следовательно, и веревку Л (рис. 5), то груз М, прикрепленный к щиту Д, своею тяжестью потянет этот щит вниз, отчего нижняя полость мехов разрядится и внешний воздух войдет через клапан а в эту полость. Если затем посредством того же рычага i потянуть веревку Л кверху, то щит Д, приподнимаясь и постепенно уменьшая объем нижней полости, неминуемо погонит заключенный в ней воздух через клапан б в верхнюю полость. При новом опускании веревки груз М, давя на верхний щит, заставит сжиматься верхнюю полость, клапан б закроется, и сжатый воздух, не находя другого выхода, направится через сопло в горн.

Рис. 5

Таким образом, при каждом поднятии и опускании веревки происходит всасывание воздуха мехами и вытекание сжатого воздуха, то есть дутье. Такой мех называется мехом простого действия, так как дутье, производимое им, будет неравномерное, прерывистое. Для устранения этого недостатка иногда устраивают меха с тремя внутренними полостями, тогда средняя полость своим запасом воздуха уравнивает приток воздуха в горне.

Только что описанный нами постоянный горн имеет один очаг и называется одноогневым в отличие от горна с двумя очагами – двухогневого. Устройство последнего ничем не отличается от одноогневого, кроме только того, что делается два горновых гнезда, расположенных рядом (по длине очага), и два меха: один по одну сторону очага, другой – по другую.

Постоянные горны отличаются продолжительностью службы и требуют незначительного ежегодного ремонта. Но такие горны занимают много места и к тому же требуют особого помещения для кузницы. Все это, однако, вполне окупается удобством работы, когда нужна постоянная работа нескольких кузнецов, для отковки вещей более или менее значительных размеров, чего нельзя сделать при переносном горне.

Поделиться:
Популярные книги

Кодекс Охотника. Книга XVII

Винокуров Юрий
17. Кодекс Охотника
Фантастика:
фэнтези
попаданцы
аниме
5.00
рейтинг книги
Кодекс Охотника. Книга XVII

На границе империй. Том 9. Часть 5

INDIGO
18. Фортуна дама переменчивая
Фантастика:
космическая фантастика
попаданцы
5.00
рейтинг книги
На границе империй. Том 9. Часть 5

Адвокат Империи 8

Карелин Сергей Витальевич
8. Адвокат империи
Фантастика:
городское фэнтези
альтернативная история
аниме
дорама
фантастика: прочее
попаданцы
5.00
рейтинг книги
Адвокат Империи 8

Боярич Морозов

Шелег Дмитрий Витальевич
3. Наследник старого рода
Фантастика:
героическая фантастика
боевая фантастика
альтернативная история
7.12
рейтинг книги
Боярич Морозов

Моров. Том 7

Кощеев Владимир
6. Моров
Фантастика:
альтернативная история
аниме
фэнтези
попаданцы
5.00
рейтинг книги
Моров. Том 7

Имя нам Легион. Том 17

Дорничев Дмитрий
17. Меж двух миров
Фантастика:
боевая фантастика
рпг
аниме
5.00
рейтинг книги
Имя нам Легион. Том 17

Чужак из ниоткуда

Евтушенко Алексей Анатольевич
1. Чужак из ниоткуда
Фантастика:
попаданцы
альтернативная история
5.00
рейтинг книги
Чужак из ниоткуда

Вперед в прошлое 8

Ратманов Денис
8. Вперед в прошлое
Фантастика:
попаданцы
альтернативная история
5.00
рейтинг книги
Вперед в прошлое 8

Черный Маг Императора 12

Герда Александр
12. Черный маг императора
Фантастика:
юмористическое фэнтези
попаданцы
аниме
сказочная фантастика
фэнтези
5.00
рейтинг книги
Черный Маг Императора 12

Законы Рода. Том 8

Андрей Мельник
8. Граф Берестьев
Фантастика:
юмористическое фэнтези
аниме
фэнтези
5.00
рейтинг книги
Законы Рода. Том 8

Кай из рода красных драконов 3

Бэд Кристиан
3. Красная кость
Фантастика:
попаданцы
альтернативная история
5.00
рейтинг книги
Кай из рода красных драконов 3

Революция

Валериев Игорь
9. Ермак
Фантастика:
боевая фантастика
попаданцы
альтернативная история
5.00
рейтинг книги
Революция

Законы Рода. Том 10

Андрей Мельник
10. Граф Берестьев
Фантастика:
юмористическая фантастика
аниме
фэнтези
5.00
рейтинг книги
Законы Рода. Том 10

Охотник за головами

Вайс Александр
1. Фронтир
Фантастика:
боевая фантастика
космическая фантастика
5.00
рейтинг книги
Охотник за головами